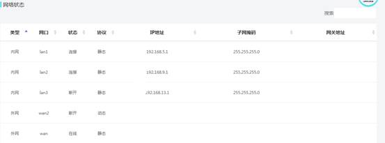
2.4网络状态

类型:区分LAN(内网)或者WAN(外网)的类型
网口:区分LAN和WAN
状态:若接口和其他设备连接,则是“连接”的状态,若接口未和其他设备连接,则是“断开”的状态
协议:接口的状态,有静态和动态的区分
IP地址:内网的地址表示局域网接口的地址,外网的地址表示广域网接口的地址
子网掩码:内网的子网掩码默认是255.255.255.0,内网和外网的子网掩码根据需求和环境而定
网关地址:内网/外网的接口地址
内网:局域网,一般和电脑或者交换机等连接
外网:广域网,一般和猫连接的网络